客服热线4000181846
网式表面过滤,智能在线清洗!
GZ自清洗过滤器

SEMEM_GZ自清洗过滤器

阅读   好评

产品描述:全自动自清洗过滤器,电动刷式清洗排污过滤器,具有对原水进行过滤并自动对滤芯进行清洗排污的功能,且清洗排污时系统不间断供水。该设备与以往的过滤器相比具有自动化程度高,处理量 ...

产品介绍

SEMEM_GZ自清洗过滤器
(全自动自清洗过滤器-Z)

产品图片

 

一、产品概述 

过滤属于水的净化过程中不可缺少的处理手段,用于拦截水中的杂质,以净化水质或保护系统中其他设备的正常工作。普通网式过滤器因其过滤效果好、阻力小而广泛应用于水源过滤、工业循环水系统等领域,但其缺点是纳污量小、易受污物堵塞、清洗工作复杂,必须对设备进行拆卸才能实现对过滤部分的清洗,无法监控过滤器的状态,而且受人为因素影响比较大,使整个系统的自动化程度很低。全自动自清洗过滤器具有对原水进行过滤并自动对滤芯进行清洗排污的功能,且清洗排污时系统不间断供水。该设备与以往的过滤器相比具有自动化程度高,处理量大,可自行清洗排污,并不间断供水,应用面广泛等优点。

 

 GZ剖面图(见图1)

GZ自清洗过滤器

 

 二、产品使用范围 

 GZ型全自动自清洗过滤器,广泛适用于循环或非循环冷却水系统、热交换系统、中央空调系统、集中供暖系统、热水锅炉系统等,分别用来保护冷却设备、热交换装置、空调器、锅炉等。该设备适用行业面广,包括建筑、化工、电力、冶金、橡胶、造纸、轻纺、煤炭、食品等行业。

 该设备要求流经过滤器的水温不可超过95℃。 入水水质要求:入水中悬浮物小于60mg/L,短时间允许悬浮物达到110mg/L。若水质达不到要求,需在过滤器入水口前加预处理。

 

三、产品功能及特点产品功能 

全自动自清洗过滤器具有对原水进行过滤并自动对滤芯进行清洗排污的功能,且清洗排污时系统不间断供水。 全自动自清洗过滤器的清洗有两种控制方式:自动控制和手动控制。 自动控制:自动控制有定时和压差两个方式。

在过滤时间定时器上设定过滤时间,当过滤时间到,启动排污,排污时间由排污时间定时器设定;同时控制系统实时将系统压差与用户设定的压差相比较,当系统压差达到设定压差时,过滤器也进行清洗排污,排污时间由排污时间定时器设定。

排污时间到,停止清洗,系统恢复至其初始状态,为下一个过滤工序作好准备。

手动控制:将操作面板上的手动/自动选择开关拨到手动位置,过滤器进行排污。

用户可根据需要选择两种控制方式,具体操作见后面的操作部分。

2.产品特点

1)过滤精度默认为10微米,且从10至3000微米可选,过滤面积大,纳污量高,用户可根据实际工况定制。

2)清洗方式简单,且清洗循环电子监控,可实现自动清洗排污。

3)全自动自清洗过滤器控制系统中的各参数均可调节。

4)设有电机过载保护,可有效保护电机。具有在清洗排污时不间断供水、无需旁路的特点,且清洗时间短,排污耗水量少,不超过总流量的1%。

5)维修性强、安装拆卸简便易行。

6)与用户管线的连接方式为法兰连接,法兰采用国标法兰,通用性强。

 

四、产品型号说明 

GZ型全自动自清洗过滤器的规格型号按进出水口的公称通径区分,

常规产品有3、4、5、6、8、10、12、14、16、18、20、24共12种规格,公称压力均为 PN=1.6MPa 。

型号表示方法如下: GZ / 公称压力(MPa) 出入水口公称通径(英寸) 型号 全自动自清洗过滤器

型号示例:10英寸GZ型全自动自清洗过滤器,公称压力为1.6MPa,表示为:GZ10-1.6

 

五、产品结构说明 

结构见图1,采用机电一体化设计。

GZ型系列全自动自清洗过滤器由驱动机构、控制管路(包括压差开关)、主管组件、滤芯组件、清洗机构、连接法兰等主要零部件组成。 电控器、控制管路和排污阀构成过滤器的控制部分,用于实现自动清洗排污过程。

控制管路由压差开关、管接头、黄铜管等附件组成。

过滤器常规产品使用不锈钢转刷,也可根据不同的使用条件(水温、水质),选用其它材质的转刷。

 

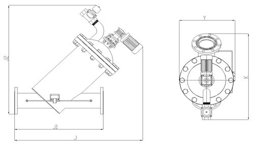
六、外型及安装尺寸 

1、外型安装图(见图2)

图2

GZ自清洗过滤器

 

  

七、技术性能参数技术参数及主要结构尺寸 见表二。 

表二

型号

管经

(inch)

进出

水口

Z Z1 Z2 Z3 K
GZ03 3 80 530 1118 785 914 572
GZ04 4 100 540 1164 831 994 572
GZ05 5 125 620 1242 904 1133 572
GZ06 6 150 700 1328 982 1252 600
GZ08 8 200 830 1583 1218 1679 630
GZ10 10 250 1000 1784 1381 1797 650
GZ12 12 300 1150 1888 1483 2148 740
GZ14 14 350 1314 2091 1656 2460 844
GZ16 16 400 1479 2388 1790 2610 957
GZ18 18 450 1606 2592 1964 2868 1064
GZ20 20 500 1812 2858 2138 3099 1173
GZ24 24 600 2132 3359 2486 3561 1390

 

八、使用注意事项 

该设备在出厂前已调试完毕,用户在使用时直接运行即可。

当设备各运行参数不能满足用户要求时,用户可根据实际工况调定各参数,并相应选用手动控制、 自动控制方式进行工作。

首次运行时,应按以下步骤进行:检查过滤器是否处于正常工作状态:察看过滤器各连接处是否牢固。察看过滤器电控箱部分应是干燥的。

接通电源,绿色电源指示灯亮,此时表示过滤器电控部分处于正常工作状态,设备可投入试运行。

注:插上电源时应注意保持手的干燥,同时在过滤器工作过程中应保持其电控器部分干燥,不可有水进入电控器内部。

 

九、安装运输 

1.电源安装: 请按铭牌提示电压、功率选择电源插座,选择1.5mm2或以上的电线接入电控柜底部的电源进线端子上,

如图3所示。L1、L2、L3表示A、B、C三相线(三相线为黑色),N为零线(零线为兰色),PE为地线(地线为黄绿线)。

GZ自清洗过滤器

图3

 

2 .控制箱接线:

电机接线:电机三相分别接U3、V3、W3;地线接PE。(见图4)

接于电控箱右侧下端的10位端子板上。

电磁阀接线:电磁阀端红线接电控箱104端子、黑线接电控箱N端子。黄绿线接电控箱PE端子(见图4),接于电控箱右侧下端的10位端子板上。

压差开关接线:压差开关端NO端子接电控箱102端子、COM端接电控箱108端子。(见图4)接于电控箱右侧下端的10位端子板上。

 

GZ自清洗过滤器

图4 

3.安装及安装注意事项:

 1)机体上的箭头方向为水流方向,过滤器应按此方向安装,即:系统中水流方向应与箭头方向一致,不得接反。

 2)水力控制阀出口应安装排污管,连接方式为法兰连接,排污管长度不能超过15米,且不应有向上的坡角,以免产生背压。

 3)过滤器有两种安装方式,见图5~6,但应注意水流方向不可弄错,安装时应尽量使水力控制阀处于水平位置或向下的位置,以保证排污彻底。

GZ自清洗过滤器

图5

 4)过滤器应串联安装在管路系统中,为保证在停机检修时系统不间断供水,系统中应设置旁路,过滤器进出口及旁路均应设置截断用阀门,如:截止阀、球阀、蝶阀等。

 5)过滤器规格的选用应与安装管路相匹配,如:系统管径为10则选10规格过滤器。当过滤器流量不能满足管路要求时,可将两个(或多个)过滤器并联安装,见图7。

GZ自清洗过滤器

 

图7

6) 过滤器应安装在系统需保护的用水设备之前,其安装位置应尽量靠近被保护设备。 在有可能发生回流的地方,应在过滤器出口安装止回阀。 在动力系统中,过滤器应安装在泵与设备之间,越靠近设备越好,若泵与设备之间的压力超过过滤器的极限压力,则应将过滤器安装于泵之前,并且尽量靠近泵。

 7)电控器安装 电控器出厂时按过滤器默认安装位置固定,如用户实际安装位置与默认不同时,可通过拆下固定电控箱支架的四条安装螺栓,调整到电控箱支架及电控箱的正确方位后,再将四条螺栓用螺母固定即可。 合理选择安装环境,注意防水、防雨、防潮。 产品出厂前已调试完毕,用户不可随意拆卸或调试电控器。

 

十、使用方法 

 GZ型全自动自清洗过滤器的清洗排污过程有手动、自动控制两种方式。操作面板图如图8所示,使用方法如下。

GZ自清洗过滤器

图8

 (一) 手动控制: 将手动/自动选择开关旋转至手动位置,见图8,电机和水力控制阀接通电源,水力控制阀打开,开始排污。选择开关旋转至自动位置,进入自动状态。 手动控制状态是检查电机和水力控制阀能否正常工作的手段,如果在手动控制状态不能正常排污自动控制状态也不会正常工作。

(二)自动控制: 将手动/自动选择开关旋转至自动位置,首先设定过滤时间和排污时 间定时器。定时器的下排数码管显示设定值,上排数码管显示计时值。 定时器设定方法:按一下位选键,下排第一个数码管闪烁,用增加键调整数值,调整好再按一下位选键,第二个数码管闪烁,用增加键调整数值,依次类推。设定好时间,数码管继续闪烁8秒,8秒后数值存入内存,且掉电不丢失。调整好数值后,按一下启动键,开始计时。

如果机器断电,下一次上电,定时器自动启动,按照设定时间进行计时。 过滤时间以分为单位,大到9999分钟;排污时间以秒为单位,大时间到99.99秒。机器上电,用选择开关进入自动状态,首先进行过滤,过滤时间定时器开始计时,同时压差开关也将实际压差与设定压差进行比较,如果设定的过滤时间到了,而压差没有到,机器也打开排污阀进行清洗排污,过滤时间停止计时,排污时间开始计时;当排污时间到,关闭排污阀,停止清洗排污,排污时间停止计时,过滤时间开始计时,进入下一个循环,如果设定的过滤时间没到,而压差到了,机器打开排污阀进行清洗排污,过滤时间停止计时,排污时间开始计时;当排污时间到,关闭排污阀,停止清洗排污,排污时间停止计时,过滤时间开始计时,如此循环往复。 图9 ♦ 压差指示仪的调整

GZ自清洗过滤器

图9

压差指示仪在出厂时已经调整好,压差值为0.5Bar。在压差指示仪的低压连接端上侧有一个调整螺钉,此螺钉为压差值调整螺钉。

每顺时针方向(即螺钉向里拧紧方向)调整螺钉一圈,压差值增加0. 06Bar;每逆时针方向(即螺钉向外松开方向)调整钉一圈,压差值减少0. 06Bar。如果当前压差值为0.5Bar,要调整为0.2Bar,需要逆时针调整螺钉5圈;如果当前压差值为0.2Bar,要调整为0.5Bar,则需要顺时针方向调整螺钉5圈;以此类推。

压差指示仪的校准:如果想校准压差指示仪的压差值,可将其从机器上取下,将高压端连接上增压设备和压力表,打开接线盒盖,观察继电器的动作(保持安静,当继电器动作时有响声)。

对高压端进行增压至所需要校准的压差值,如想校准为0.5Bar,当压力表的读数为0.5Bar时,旋转调整螺钉,当继电器动作时的螺钉位置即为压差值为0.5Bar的位置,校准其他值的方法一样。

 

十一、维护保养 

1)当设备需要检修或停用时应按以下程序进行操作:停机程序关闭过滤器出口处的阀门。

按上述试运行中的手动程序启动一次手动清洗排污程序,以清洁过滤网。关闭过滤器的入口阀门。

再启动一次手动自清洗排污程序,以释放过滤器内的压力。切断电源。如果过滤器需检修或停用一段时间,建议按以下的步骤放空过滤器内的水。将过滤器的过滤网取出用水清洗并晾干,然后再将其复位,这样可防止灰尘昆虫或其他异物进入。

2)如需重新启动过滤器时,请遵循前面的步骤即可。维护保养过滤器在长期运行时,应定期对其进行检查。 启动一次手动清洗排污程序,检查过滤器在冲洗周期内是否运转正常,在手动清洗前后检查过滤器的压差是否有明显变化。用户可根据过滤器的使用情况和水质情况决定过滤器维护保养的周期。

 

十二、调试 

1、逐渐缓慢地打开入水阀门,请确保已经安装好出水阀门并已打开。

2、检查过滤器组件及其连接处有无渗漏现象。

3、将手动/自动旋钮拨到自动位置,按下电源按钮,使系统上电,这时电源指示灯点亮,定时器有显示。

4、将手动/自动旋钮拨到手动位置,进行一次自清洗循环。

5、将手动/自动旋钮拨到自动位置,按照“第十使用方法中自动控制方式”启动机器运行。

6、将压差指示仪设置为“0”,进行一次自清洗循环。

7、查看清洗在设定的排污时间内结束。

8、将压差指示仪设置为0.5Bar(或其他认为合适的值,用户必须确认)。

9、按照“第十使用方法中自动控制方式”启动机器运行。

10、查看在设定的时间内启动一次清洗循环。

11、选择一种自动控制方式启动机器运行。

 

十三、故障处理 

1)本仪器接通电源后,绿色指示灯亮表示工作正常。如果在初次安装或使用过程中,发现指示灯不亮,请检查电源是否有电,电源开关是否在接通状态,电源插座是否插牢,如均无问题,请再检查指示灯两端是否有电压,如果有电,说明指示灯已坏,请更换指示灯;如果没电,请检查电源至指示灯的线有无断裂。蜂鸣器发出报警信号时,用户应对机器进行检修。

2)首先检查,显示器(定时器)是否还有显示,如果没有显示,说明马达保护开关已经动作,这时检查电机是否过热,三相交流电是否有短路现象,排除故障后,先在手动状态进行排污,工作正常后,将机器工作切换到自动状态进行工作。

3)如果显示器(定时器)有显示,并且过滤器频繁排污,出现这种现象的原因可能是:压差开关信号有误,过滤器在过滤时没有正常排污,滤网堵塞等等故障。此时应及时查明故障原因,排除故障后才能让机器继续工作。

4)系统长时间不进行排污:原因可能是压差开关出现故障或电控系统出现故障、过滤器滤网损坏,此时应按以下步骤操作:见管路图10,

GZ自清洗过滤器

图10

拆下压差开关,检查压差开关是否出现故障,如有故障,应及时更换压差开关。

在压差开关故障期间,可改用时间控制方式或手动控制方式。检查电控箱线路是否出现故障。首先检查手动状态是否正常排污。

如果手动状态不能正常排污,检查马达保护开关、交流接触器、电机、电磁阀的好坏状况以及它们之间的连线情况,

如有故障请排除故障后再使机器工作。 如果手动状态能够正常排污,而自动状态不能正常排污,请检查开关电源的输出(输出直流电压+5V),检查开关电源与控制线路板的连线,检查线路板的输入输出线与连接元件是否有断裂的现象。

5)如果都没有故障,请将压差开关的两根线短接一下,观察是否有排污。如果没有排污,请更换控制线路板。 维修时可以参考附录1维修流程附图。

如果压差开关和电控系统没有故障,应继续检查控制管路中的管路是否已被污物堵塞,见管路图10,拧开卡套接头,取下管子,用水清洗干净,重新装上。

 图10 如果清洗完管路后,仍然长时间没有排污,应停机检查过滤器滤网是否出现坏损:关闭过滤器进出水口阀门。启动一次手动清洗排污,以释放过滤器内的压力。

5)断开电源;松开连接法兰盖与主管法兰的螺母,整体取下过滤器法兰盖以上的部分,包括电机,注意不可将电机连线相序弄断。

松开滤筒与主管连接的螺栓,取下滤筒。

仔细检查滤芯是否有损坏的地方,如:滤网表面出现较大面积的孔洞,滤网局部断裂、出现较大裂口,此时应及时与厂家联系,更换滤芯。更换完滤芯后,

将过滤器各零部件依次复位。填料压盖与填料函密封处漏水:如发现此处有漏水现象,原因可能是螺栓、螺母没有拧紧、填料损坏,

6)检查设备原因应按以下步骤操作:此处漏水有可能是由于螺母没有拧紧,拧紧连接填料压盖与填料函的螺母; 如果拧紧螺母后此处仍然漏水,原因应该是密封填料环已经损坏,应及时更换填料,此时应按以下步骤操作:关闭过滤器进出水口阀门,启动一次手动清洗排污,以释放过滤器内的压力,打开放水旁路的阀门,放空过滤器内的水,然后关闭阀门;断开电源;拆下相应零部件,更换密封填料环,更换后将拆下的零部件复位。然后打开过滤器进水口阀门,观察过滤器填料压盖与填料函之间是否还漏水。

如果没有问题,打开过滤器出水口阀门,接通电源,过滤器可投入正常运行。填料函与法兰盖密封处漏水:原因可能是连接填料函与法兰盖的螺栓没有拧紧、填料函与法兰盖之间的垫片损坏,

7)检查设备原因应按以下步骤操作:此处漏水有可能是由于螺母没有拧紧,首先检查一下螺母下面是否有弹簧垫圈,如果有则拧紧连接填料函与法兰盖的螺母;如果拧紧螺母后此处仍然漏水,原因是垫片已损坏,

8)按以下步骤更换垫片:关闭过滤器进出水口阀门,启动一次手动清洗排污,以释放过滤器内的压力,打开放水旁路的阀门,放空过滤器内的水,然后关闭阀门,断开电源;拆下相应零部件,取下已损坏垫片,换上新垫片,拧紧螺栓,注意不可将弹垫漏装。更换后将拆下的零部件复位。

打开过滤器进水口阀门,观察过滤器填料函与法兰盖之间是否还漏水。如果没有问题,打开过滤器出水口阀门,接通电源,过滤器可投入正常运行。法兰盖与主管法兰密封处漏水:该处漏水可能是螺栓螺母没有拧紧也可能是密封垫片损坏,此时应按以下步骤操作:此处漏水有可能是由于螺母没有拧紧,首先检查一下螺母下面是否有弹簧垫圈,如果有则拧紧连接法兰盖与主管法兰的的螺母;如果拧紧螺母后此处仍然漏水,原因是垫片已损坏,按以下步骤更换垫片:关闭过滤器进出水口阀门,启动一次手动清洗排污,以释放过滤器内的压力。断开电源,拆下相应零部件,更换密封垫片,更换后将拆下的零部件复位。然后打开过滤器进水口阀门观察过滤器法兰盖与主管法兰之间是否还漏水。如果没有问题,打开过滤器出水口阀门,接通电源,过滤器可投入正常运行。控制管路接口处漏水:拧紧相应丝口,如果继续漏水,应更换卡套接头。 排污阀不能开启或排污周期结束后水力控制阀仍不能关闭:当出现此现象时,原因可能是过滤器内的压力不够过滤器低工作压力,或电控线路出故障和水力控制阀出现故障。

此时应按以下步骤操作:压力不够需调整过滤器内部压力。检查电控箱线路是否出现故障,如果是,应及时排除。如果电控箱线路没有故障,应检查水力控制阀是否出故障,如果是,应及时排除,当水力控制阀已损坏时应及时更换。

编辑 Fan (本文版权所有,请勿复制商用)

销售咨询 详细...

     

      7*24小时电话

     400-018-1846

     

  • 地址:长沙市迎宾路235号
  • 电话:0731-88801999   85218418
  • 传真:0731-88801666
  • 邮箱:semem99@163.com
  • 在线咨询:

微信咨询 QQ咨询
微信咨询 QQ咨询

西门机电科技,专业制造经典!